| Verfügbarkeitsstatus: | |
|---|---|
| Menge: | |
JH-S/2000
Piezohannas
YH-S/2000
Benutzerdefiniertes Übertragung von Tiefwasserhydrophon
Deep-Water-druckbeständiges Strukturdesign, das in einer Tiefe von 2000 Metern funktionieren kann.
Gemischte Anwendung mehrerer Schaltungsstrukturen zur Verbesserung der Empfindlichkeit und der statischen Kapazität.
Vollständig eingebaute Suspensionsstruktur, um den Einfluss der strukturellen Schwingung zu verringern.
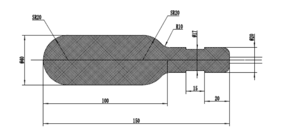
Das Hydrophon nimmt eine speziell druckresistente Struktur an, und zwischen mehreren Piezokeramik wird eine Serie-Parallel-Schaltungsstruktur übernommen Dies gewährleistet die Empfindlichkeit und statische Kapazität des Hydrophons unter der Prämisse des Druckbeständigkeit. Diese Art von Hydrophon verfügt über 2000 Meter, 4000 Meter, 6000 Meter und zehntausend Meter. Das Design und die Strukturdesign des Wandlers der elektrischen Leistungsstruktur kann gemäß den Benutzeranforderungen durchgeführt werden.
Modell | JH-S/2000
|
Resonanzfrequenz | 40 kHz |
Arbeitsband | Unter 20 kHz |
Empfindlichkeit erhalten | ≥ 200 dB |
statische Kapazität | 5000Pf |
Direktivität | Horizontaler Nicht-Richtung |
Vertikal Nichtrichtungs | |
Arbeitstiefe | 2000 m, 4000 m, 6000 m, 10000 m |
Kabelspezifikation | Φ5mm zwei Kernkabel |
Benutzerdefiniertes Übertragung von Tiefwasserhydrophon
Deep-Water-druckbeständiges Strukturdesign, das in einer Tiefe von 2000 Metern funktionieren kann.
Gemischte Anwendung mehrerer Schaltungsstrukturen zur Verbesserung der Empfindlichkeit und der statischen Kapazität.
Vollständig eingebaute Suspensionsstruktur, um den Einfluss der strukturellen Schwingung zu verringern.
Das Hydrophon nimmt eine speziell druckresistente Struktur an, und zwischen mehreren Piezokeramik wird eine Serie-Parallel-Schaltungsstruktur übernommen Dies gewährleistet die Empfindlichkeit und statische Kapazität des Hydrophons unter der Prämisse des Druckbeständigkeit. Diese Art von Hydrophon verfügt über 2000 Meter, 4000 Meter, 6000 Meter und zehntausend Meter. Das Design und die Strukturdesign des Wandlers der elektrischen Leistungsstruktur kann gemäß den Benutzeranforderungen durchgeführt werden.
Modell | JH-S/2000
|
Resonanzfrequenz | 40 kHz |
Arbeitsband | Unter 20 kHz |
Empfindlichkeit erhalten | ≥ 200 dB |
statische Kapazität | 5000Pf |
Direktivität | Horizontaler Nicht-Richtung |
Vertikal Nichtrichtungs | |
Arbeitstiefe | 2000 m, 4000 m, 6000 m, 10000 m |
Kabelspezifikation | Φ5mm zwei Kernkabel |